Om PTC
PTC är en förkortning för Positive Temperature Coefficient, i allmänhet hänvisar till halvledarmaterial eller komponenter med en stor positiv temperaturkoefficient. Vanligtvis, när vi nämner PTC, hänvisar vi till termistorer för positiv temperaturkoefficient, allmänt kända som PTC-termistorer. PTC-termistorer är en typ av halvledarmotstånd med temperaturkänslighet, och när temperaturen överstiger en viss tröskel (Curie-temperatur) ökar deras motstånd abrupt med temperaturhöjningen.
Organisationsstrukturen och funktionsprincipen
Keramiska material används vanligtvis som utmärkta isolatorer med hög motståndskraft. Keramiska PTC-termistorer är gjorda med bariumtitanat som bas och dopade med andra polykristallina keramiska material, vilket resulterar i lägre resistans och halvledaregenskaper. Detta uppnås genom avsiktlig dopning av ett kemiskt element med en högre valens som en gitterpunkt för kristallen. En del av bariumjonerna eller titanatjonerna i gittret ersätts av joner med högre valens, vilket skapar ett visst antal fria elektroner som bidrar till elektrisk ledningsförmåga.
Orsaken till PTC-effekten (Positive Temperature Coefficient), dvs den abrupta ökningen av motståndet, ligger i materialets organisation, som består av många små mikrokristaller. Vid gränssnitten för dessa kristaller, så kallade korngränser, bildas barriärer som hindrar elektronernas rörelse in i angränsande områden. Som ett resultat blir motståndet högt. Denna effekt kompenseras vid låga temperaturer på grund av den höga dielektricitetskonstanten och den spontana polarisationsstyrkan vid korngränserna, vilket förhindrar bildandet av barriärer och tillåter elektroner att flöda fritt. Vid höga temperaturer minskar emellertid dielektricitetskonstanten och polarisationsstyrkan avsevärt, vilket gör att barriärerna och motståndet ökar kraftigt, vilket uppvisar en stark PTC-effekt.
Tillverkningsprocess för PTC-termistorer
Vägning och blandning: Materialen, såsom bariumkarbonat, titandioxid och andra tillsatser, vägs och blandas noggrant för att uppnå de nödvändiga elektriska och termiska egenskaperna.
1. Våtmalning: Blandningen genomgår våtmalning för att bilda en enhetlig pasta.
2. Dehydrering och torkning: Pastan torkas sedan och torkas för att avlägsna överflödig fukt.
3. Torrpressning: Det torkade materialet torrpressas till olika former, såsom skivor, rektanglar, ringar eller bikakestrukturer.
4. Sintring: De pressade ämnena sintras vid hög temperatur (cirka 1400 grader) för att bilda keramiska komponenter.
5. Elektrodapplikation: Elektroder appliceras på ytan av de keramiska komponenterna för att göra dem ledande.
6. Motståndssortering: Komponenterna genomgår motståndssortering för att klassificera dem baserat på deras resistansvärden.
7. Trådbindning: Beroende på slutproduktens struktur utförs trådbindning för att ansluta komponenterna.
8. Isolering Inkapsling: Komponenterna är inneslutna i isoleringsmaterial för skydd.
9. Montering: Komponenterna monteras och vid behov placeras de i skyddshöljen.
10. Tålspänningstestning: De sammansatta PTC-termistorerna genomgår spänningstestning för att säkerställa deras elektriska säkerhet.
11. Resistanstestning: PTC-termistorernas resistans kontrolleras för att verifiera deras prestanda.
12. Slutlig testning: Omfattande testning utförs för att utvärdera PTC-termistorernas övergripande funktionalitet.
13. Förpackning: De testade och godkända PTC-termistorerna är förpackade för transport.
14. Förvaring: De förpackade PTC-termistorerna förvaras i lämplig miljö tills de distribueras eller används i olika applikationer.
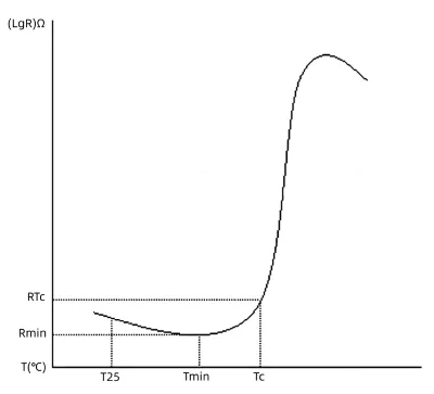
RT Karakteristisk
PTC-termistorer uppvisar ett temperaturberoende förhållande mellan resistans och temperatur, allmänt känd som Resistance-Temperature (RT) karakteristiken. RT-karakteristiken beskriver beroendet av nolleffektresistansen hos PTC-termistorn på dess temperatur, under en specificerad spänning.
Nolleffektresistansen hänvisar till PTC-termistorns resistansvärde när den mäts vid en viss temperatur, med en mycket låg tillförd effekt, så låg att resistansförändringen orsakad av effektförlusten kan försummas. Det nominella nolleffektmotståndet representerar värdet uppmätt vid en omgivningstemperatur på 25 grader.
-
Rmin: minimalt motstånd
-
Tmin: Temperatur i Rmin
-
Rtc: 2 gånger Rmin
-
Tc:

Den nyckelparameter som kännetecknar kvaliteten på RT-karakteristiken är temperaturkoefficienten ( ), som återspeglar RT-kurvans branthet. En högre temperaturkoefficient ( ) indikerar att PTC-termistorn är mer känslig för temperaturförändringar, vilket resulterar i en mer uttalad PTC-effekt. Med andra ord betyder en högre temperaturkoefficient bättre prestanda och längre livslängd för PTC-termistorn.
Temperaturkoefficienten ( ) för en PTC-termistor definieras som den relativa förändringen i resistans som orsakas av en temperaturförändring. Det kan beräknas med formeln:=(log(R2) - log(R1)) / (T2 - T1)
Vanligtvis tas T1 som Tc + 15 grad och T2 tas som Tc + 25 grad, där Tc är Curie-temperaturen för PTC-termistorn.
VI Karakteristisk
Spänningsströmkarakteristiken (VI), även känd som ström-spänningskarakteristiken eller helt enkelt VI-karakteristiken, illustrerar det ömsesidiga beroendet mellan spänning och ström i en PTC-termistor när den når termisk jämvikt under elektrisk belastning.
-
Ik: Driftström vid pålagd spänning Vk
-
Ir: Restström när Vmax appliceras
-
Vmax: Maximal spänning
-
VN: Normal spänning
-
VD: Genombrottsspänning

VI-karakteristiken för en PTC-termistor kan generellt delas in i tre regioner:
Linjär region (0-Vk): I denna region följer förhållandet mellan spänning och ström Ohms lag, och det finns ingen signifikant icke-linjär variation. Den är också känd som den icke-verkande regionen eftersom PTC-termistorn inte uppvisar några märkbara förändringar i sin resistans.
Övergångsområde (Vk-Vmax): I denna region, känd som övergångs- eller omkopplingsregionen, genomgår motståndet hos PTC-termistorn en snabb förändring på grund av självuppvärmning. När spänningen ökar minskar strömmen, vilket resulterar i att PTC-termistorn växlar från ett lågresistanstillstånd till ett högresistanstillstånd. Denna region kallas även för aktionsregionen.
Nedbrytningsregion (VD och högre): I denna region, känd som nedbrytnings- eller utlösningsregionen, ökar strömmen med en ökning av spänningen. Motståndet hos PTC-termistorn uppvisar en exponentiell minskning, vilket resulterar i högre strömmar för högre spänningar. Som en konsekvens stiger temperaturen på PTC-termistorn, vilket leder till en ytterligare minskning av motståndet. Så småningom kan detta orsaka termiskt haveri eller utlösning av PTC-termistorn.
VI-karakteristiken är en viktig referens för överströmsskydd som tillhandahålls av PTC-termistorer. Det hjälper till att bestämma termistorns beteende under olika spännings- och strömförhållanden, vilket säkerställer effektivt skydd mot överdrivet strömflöde.
Tt Karakteristisk
Current-Time Characteristic hänvisar till egenskapen hos en PTC-termistor där strömmen ändras med tiden under påläggning av spänning.
När spänning initialt appliceras på PTC-termistorn kallas strömmen i det ögonblicket för startström. När PTC-termistorn når termisk jämvikt, kallas den kvarvarande strömmen som restström.
Vid en viss omgivningstemperatur, när en initial ström (som säkerställer att det är driftsströmmen) appliceras på PTC-termistorn, kallas den tid det tar för strömmen att minska till 50 % av startströmmen för svarstid eller svarstidskonstant. Ström-tidskarakteristiken är en viktig referens för olika tillämpningar av PTC-termistorer, såsom automatisk avmagnetisering, fördröjd start och överbelastningsskydd.






